Rear Wiper Motor
REMOVAL
1. Remove the tail gate trim .
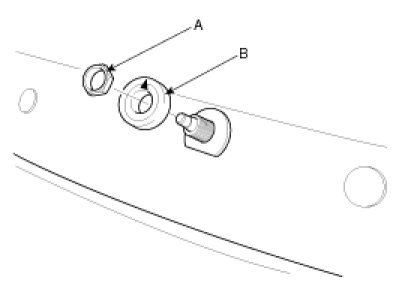
2. Detach the wiper cap (A), and then remove the rear wiper arm after removing the mounting nut (B).
Tightening torque Nut(B) :
10 - 13 Nm (1.0 - 1.3 kgf.m, 7.2 - 9.4 lbf.ft)

3. Detach the wiper motor cover, and then remove the rear wiper cap & pad (B) after removing the mounting nut (A).
NOTE:
During installation, of the rear wiper cap and pad, ensure the arrow on the cap assembly is pointed upwards.

4. Disconnect the rear wiper motor connector (A) then remove the rear wiper motor (B) after removing 2 bolts.
Tightening torque Nut :
7 - 11 Nm (0.7 - 1.1 kgf.m, 5.1 - 8.0lbf.ft)

5. Installation is the reverse of removal.
INSTALLATION
1. Install the rear wiper arm and blade to the specified position.
** Specified position : The first defogger line from bottom of the rear window.
2. Set the rear washer nozzle on the specified spray position.

INSPECTION
1. Remove the 3P connector from the rear wiper motor.
2. Connect battery positive (+) and negative (-) cables to terminals 2 and 1 respectively.
3. Check that the motor operates normally. Replace the motor if it operates abnormally.
