Fuel Door Release Actuator: Testing and Inspection
INSPECTION
1. Remove the rear seats.
2. Remove the luggage side trim.
3. Open the fuel filler door and disconnect the wiring connector after loosening 2 bolts.
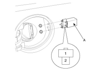
4. Check for continuity between terminal No. 1 and No. 2. If there is no continuity replace the fuel filler door opener.
