Repair Procedures
Removal
1. Disconnect the vacuum hose (A) from the brake booster (B).

2. Remove the master cylinder .
3. Remove the snap pin (A) and clevis pin (B).

4. Remove the four booster mounting nuts (C).
5. Remove the brake booster (A).

INSTALLATION
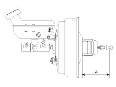
1. Adjust push rod length of the booster, and then install the seal on the booster assembly.
Standard length (A): 112 ± 0.5 mm (4.43 ± 0.019 in.)

2. Insert the booster and tighten the nuts (C).

3. Connect the booster push rod and brake pedal with a pin (B) and install a snap clevis pin (A) to the clevis pin (B).
CAUTION:
Grease the pin before installing the snap pin.
Always use a new snap pin.
4. Install the master cylinder.
5. Connect the vacuum hose to the brake booster.
6. After filling the brake reservoir with brake fluid, bleed the system .
7. Check for fluid leakage.
8. Check and adjust the brake pedal for proper operation.