Evaporative Emission Control Canister: Service and Repair
Removal
1. Lift the vehicle.
2. Disconnect the canister close valve connector (A).

3. Remove the canister protector (A) after removing the mounting bolts (B).

4. Disconnect the vacuum hoses (A,B,C).

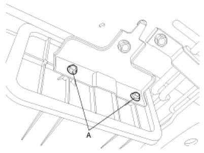
5. Remove the canister after removing the mounting bolts (A,B).


Inspection
1. Look for loose connections, sharp bends or damage to the fuel vapor lines.
2. Look for distortion, cracks or fuel damage.
3. After removing the canister, inspect for cracks, damage or saturated canister.

A: To Air
B: To Intake manifold
C: To Fuel tank
Installation
Installation is reverse order of removal.
Canister protector installation bolt:
7.8 - 11.8 N.m (0.8 - 1.2 kgf.m, 5.8 - 8.7 lb-ft)
Canister installation bolt/nut:
7.8 - 11.8 N.m (0.8 - 1.2 kgf.m, 5.8 - 8.7 lb-ft)