Component Tests and General Diagnostics
Operation and Leakage Check
Check all of the following items:


BRAKE BOOSTER OPERATING TEST
For simple checking of the brake booster operation, carry out the following tests
1. Run the engine for one or two minutes, and then stop it. If the pedal depresses fully the first time but gradually becomes higher when depressed succeeding times, the booster is operating properly, if the pedal height remains unchanged, the booster is inoperative.

2. With the engine stopped, step on the brake pedal several times.
Then step on the brake pedal and start the engine. If the pedal moves downward slightly, the booster is in good condition. If there is no change, the booster is inoperative.

3. With the engine running, step on the brake pedal and then stop the engine.
Hold the pedal depressed for 30 seconds. If the pedal height does not change, the booster is in good condition, if the pedal rises, the booster is inoperative.
If the above three tests are okay, the booster performance can be determined as good.
Even if one of the above three tests is not okay, check the check valve, vacuum hose and booster for malfunction.

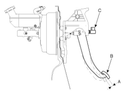
VACUUM HOSE (CHECK VALVE)
INSPECTION
1. Disconnect the brake booster vacuum hose (check valve built in) (A) at the booster (B).
2. Start the engine and let it idle. There should be vacuum available. If no vacuum is available, the check valve is not working properly. Replace the brake booster vacuum hose and check valve and retest.

BRAKE PEDAL BRAKE SWITCH ADJUSTMENT
PEDAL HEIGHT
1. Disconnect the brake switch connector, loosen the brake switch locknut (A), and back off the brake switch (B) until it is no longer touching the brake pedal.
2. Lift up the carpet. At the insulator cutout, measure the pedal height (C) from the middle of the left-side center of the pedal pad (D).
Standard pedal height( with carpet removed): 192.4 mm(7.57 in.)

3. Loosen the pushrod locknut (A), and screw the pushrod in or out with pliers until the standard pedal height from the floor is reached. After adjustment, tighten the locknut firmly. Do not adjust the pedal height with the pushrod depressed.

BRAKE SWITCH CLEARANCE
Screw in the brake switch until its plunger is fully depressed (threaded end (A) touching the pad (B) on the pedal arm) then brake off the switch 3/4 turn to make 1.0 - 1.5 mm (0.04 - 0.06 in) of clearance between the brake switch connector. Make sure that the brake lights go off when the pedal is released.

PEDAL FREE PLAY
1. With the engine off, inspect the pedal free play (A) on the pedal pad (B) by pushing the pedal by hand.
Free play: 3 - 8 mm (0.12 - 0.31 in.)

2. If the pedal free play is out of specification, adjust the brake switch (C). If the pedal free play is insufficient, it may result in brake drag.
INSPECTION OF FRONT DISC BRAKE PAD
1. Check the brake pad thickness through the caliper body inspection hole.
Pad thickness
Standard value : 10.5 mm ( 0.41 in)
Service limit : 2 mm (0.0787 in)

CAUTION:
- If the pad thickness is out of specification, left and right pads must be replaced as a complete set.
- When the thickness difference between the left pad and right pad is large, check the sliding condition of the piston and the guide rod.
INSPECTION OF REAR DISC BRAKE PAD
1. Check the rear disc brake pad thickness through the caliper body inspection hole.
Pad thickness
Standard value : 10.0 mm (0.39 in)
Service limit : 2.0 mm (0.0787 in)

CAUTION:
- If the pad thickness is out of specification, left and right pads must be replaced as a complete set.
- When the thickness difference between the left pad and right pad is large, check the sliding condition of the piston and the guide rod.