Repair Procedures
REPLACEMENT
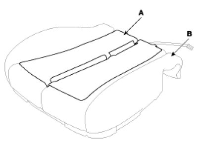
SEAT ASSEMBLY REPLACEMENT
1. Remove the seat assembly mounting cover.
2. After loosening the seat assembly mounting bolts, remove the seat assembly (A).

3. Open the connector box (A).
4. Disconnect the connector (B), and remove the seat assembly.

5. Installation is the reverse of removal.
CAUTION:
SEAT MOUNTING BOLT INSTALLATION PROCEDURE
- Set the into the most rearward position.
Check then each slide is locked, and then Tighten the front mounting bolt temporarily.
- Set the seat into most forward position.
Check that each slide is locked, and then Tighten the rear mounting bolt completely.
- Set the seat into the most rearward position.
Check the front mounting bolt completely.
- Check that the seat operates to and fro smoothly and the locking portion locks properly.
LUMBAR SUPPORT LEVER REPLACEMENT
1. Loosen the lumber support lever mounting screw, remove the lumber support lever (A).
2. Installation is the reverse of removal.

RECLINER COVER REPLACEMENT
1. Remove the cover (A).

2. Loosen the recliner mounting screw and clip, then remove the recliner cover (A).

3. Installation is the reverse of removal.
ARMREST REPLACEMENT
1. Remove the cover (A).
2. After the armrest mounting bolt, then remove the armrest (B).

3. Installation is the reverse of removal.
SEAT BACK COVER REPLACEMENT
1. Remove front seat assembly.
2. Remove the recliner cover.
3. Remove the armrest.
4. Remove the connector (A), (B).

5. After disconnecting the scuff band (A), remove the seat back panel (B).

6. Remove the headrest and headrest guide (A).

7. Loosen the mounting bolts, then remove the seat back assembly (A).

8. Disconnect the protector (A) from the back frame, then remove the hog ring clips (B).

9. Disconnect the seat pad (B) from the back frame (A).

10. After removing the hog-ring clips (A) on the front of seat back remove the seat back cover (B).

11. Installation is the reverse of removal.
A. To prevent wrinkles, make sure the material is stretched evenly over the cover (B) before securing the hog ring clips (A)
B. Replace the hog ring clips with new ones using special tool (C).

SEAT CUSHION COVER REPLACEMENT
1. Remove front seat assembly.
2. Remove the recliner cover.
3. Disconnect the scuff band.
4. Disconnect the connector (A), (B).

5. Loosen the mounting bolts, then remove the seat back assembly (A).

6. Loosen the mounting bolts, then remove the seat leg assembly (A).

7. Disconnect the protector (A) from the cushion frame, then remove the hog-ring clips (B).

8. Disconnect the seat cushion pad (B) from the track (A).

9. After removing the hog-ring clips (A) on the front of seat cushion remove the seat cushion cover (B).

10. Installation is the reverse of removal.
A. To prevent wrinkles, make sure the material is stretched evenly over the cover (B) before securing the hog ring clips (A).
B. Replace the hog ring clips with new ones using special tool (C).

SEAT BACK FRAME REPLACEMENT
1. Remove the following items.
A. Recliner cover.
B. Seat back panel.
C. Headrest guide.
D. Seat back cover.
2. Remove the pad (A) from frame (B).
CAUTION:
- Remove the side air bag for replacing side air bag installation seat.
- Be fore service, be fully aware of precautions and service procedure relevant to air bag .

3. Installation is the reverse of removal.
SEAT TRACK REPLACEMENT
1. Remove the recliner cover.
2. Remove the seat cushion cover.
3. Remove the seat track (A).

4. Installation is the reverse of removal.
SEAT BACK HEATER REPLACEMENT
1. Remove the seat back cover.
2. Cut the heater (A) attached to the pad (B), as shown in the picture.
3. Take off the paper from the backside of the heater assembly.
4. Attach the heater to the main part of pad.
5. Install the seat back cover.

SEAT CUSHION HEATER REPLACEMENT
1. Remove the seat back cover.
2. Cut the heater (A) attached to the pad (B), as shown in the picture.
3. Take off the paper from the backside of the heater assembly.
4. Attach the heater to the main part of pad.
5. Install the seat back cover.
