Tailgate
REPLACEMENT
INSIDE HANDLE REPLACEMENT
1. After loosening the mounting screws, remove the inside handle (A).

2. Installation is the reverse of removal.
ROOM LAMP REPLACEMENT
1. Remove the room ramp.
A. Remove the lens (A).
B. Remove the screw.
C. Pull out the room lamp (B).
D. Disconnect the connector (C).

2. Installation is the reverse of removal.
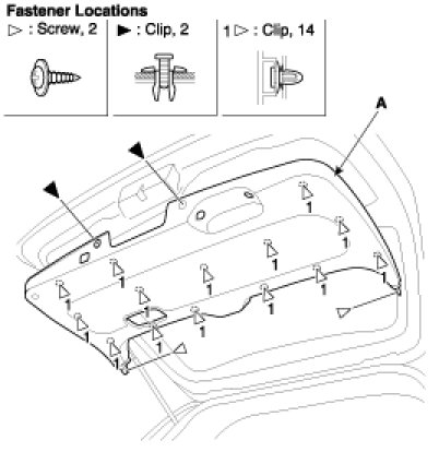
TAILGATE TRIM REPLACEMENT
NOTE:
- When prying with a flat-tipper screwdriver, wrap it with protective tape, and apply protective tape around the related parts, to prevent damage.
- Put on gloves to protect your hands.
1. Remove the following items.
A. Room lamp
B. Inside handle
2. Disconnect the clip (A), remove the tailgate lifter (B).

3. Using a screwdriver, remove the tailgate switch (A).
4. Disconnect the connector (B).

5. Using a screwdriver, remove the tailgate upper trim (A).

6. Loosen the screw, then remove tailgate side trim (A).

7. Loosen the screws and clips to the lower tailgate trim (A).

8. Installation is the reverse of removal.
NOTE:
- Replace and damaged clips.
TAILGATE WEATHERSTRIP REPLACEMENT
1. Remove the tailgate weather strip (A).

2. Installation is the reverse of removal.
LATCH ASSEMBLY REPLACEMENT
1. Remove the tailgate trim.
2. Disconnect the outside handle rod (A), connector (B).

3. After loosening the mounting screws, then remove the latch assembly (A).

4. Installation is the reverse of removal.
A. Make sure the connector is connected properly and the connecting rod is connected properly.
B. Make sure the tailgate opens properly and locks securely.
ACTUATOR ASSEMBLY REPLACEMENT
1. Remove the tailgate trim.
2. Disconnect the outside handle rod (A), actuator rod (B), key cylinder rod (C) and connector.
3. After loosening the mounting bolt and nuts, then remove the actuator assembly (D).

4. Installation is the reverse of removal.
NOTE:
- Make sure the connector is connected properly and the connecting rod is connected properly.
- Make sure the tailgate opens properly and locks securely.
OUTSIDE HANDLE REPLACEMENT
1. Remove the tailgate trim.
2. After loosening the mounting bolt and nuts, then remove the tailgate garnish (A).

3. Disconnect the outside handle rod (A).
4. Loosen the outside handle (B) mounting bolts.

5. Installation is the reverse of removal.
NOTE:
- Make sure the tailgate opens properly and locks securely.
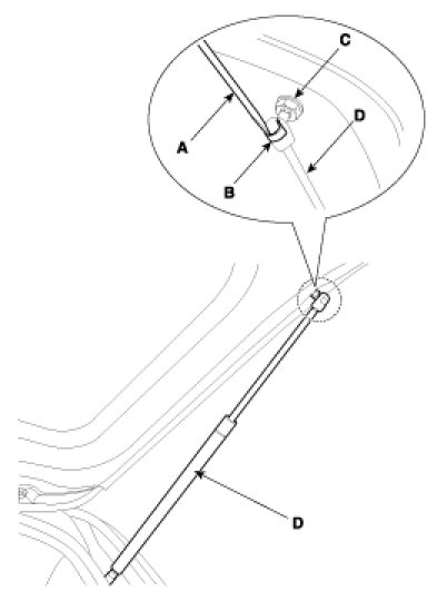
LIFTER REPLACEMENT
1. Using a screwdriver (A), lift up slightly the socket clips (B) of both ends on the lifter (D), and then remove the lifter from the bracket (C).

2. Push the socket of the lifter into the bracket for installation.
KEY HOLDER REPLACEMENT
1. Remove the tailgate trim.
2. Remove the tailgate garnish.
3. Disconnect the key rod (B) and connector (A).

4. Remove the key holder (A).

5. Installation is the reverse of removal.
NOTE:
- Make sure the tailgate opens properly and locks securely.
POWER TAILGATE MOTOR ASSEMBLY REPLACEMENT
1. Remove the rear seat assembly.
2. Remove the luggage trim.
3. Disconnect the clip (A), remove the tailgate lifter (B).

4. Disconnect the connector.
5. After loosening the mounting bolts, then remove the tailgate motor assembly (A).

6. Installation is the reverse of removal.
NOTE:
- Make sure the connector is plugged in properly.
- Make sure the tailgate opens properly and locks securely.
REAR WIPER REPLACEMENT
1. Using a screwdriver, detach cover (A).

2. Remover the rear wiper (A).

3. Installation is the reverse of removal.
REAR WIPER MOTOR ASSEMBLY REPLACEMENT
1. Remove the tailgate trim.
2. Remove the rear wiper.
3. Remove cover (A).

4. Loosen the mounting nut (A).

5. After disconnecting the connector (A), remove the motor (B).

6. Installation is the reverse of removal.
NOTE:
- Make sure the connector is plugged in properly.
- Make sure the rear wiper.
FUEL FILL DOOR REPLACEMENT
1. Remove the clip (A).

2. Loosen the bolts, then remove the fuel fill door (A).

3. Remove the fuel fill door (B).

4. Installation is the reverse of removal.
NOTE:
- Make sure the fuel fill door opens properly and locks securely.
5. Check that the fuel fill door (A) fits flush against the body. If necessary, adjust it.

TAILGATE ADJUSTMENT PROCEDURES
1. After loosening the tailgate hinge (A) mounting bolt, adjust the tailgate by moving it up or down, or right or left.
2. Adjust the tailgate fit by closing the tailgate over slam bumper and side bumper (B).
3. Adjust the striker (C) by moving it up or down, or right or left.
