Hood: Service and Repair
REPLACEMENT
HOOD ASSEMBLY REPLACEMENT
NOTE:
- When removing and installing the hood, an assistant is necessary.
- Take care not to damage the hood and body.
- When removing the clips, use a clip remover.
1. Disconnect the windshield washer nozzle connecting tube (D).
2. Using a screwdriver (E), lift up slightly the socket clips (F) of both ends on the lifter (G), and then remove the lifter from the bracket (H).
3. After loosen the hood hinge (B) mounting bolts, remove the hood (C).
4. Installation is the reverse of removal.
NOTE:
- Make sure the hood opens properly and locks securely.
- Adjust the hood alignment.

HOOD INSULATOR REPLACEMENT
1. Using a clip remover, detach the clips, and remove the hood insulator (A).
NOTE:
- Take care not to scratch the hood panel.

2. Installation is the reverse of removal.
NOTE:
- Replace any damaged clips.
HOOD WEATHERSTRIP REPLACEMENT
1. Detach the clips, then remove the hood weatherstrip(A). Take care not to scratch the hood.

2. Installation is the reverse of removal.
NOTE:
- Replace any damaged clips.
HOOD SEAL WEATHERSTRIP REPLACEMENT
1. Detach the clips, then remove the hood weather strip(A). Take care not to scratch the hood.

2. Installation is the reverse of removal.
NOTE:
- Replace any damaged clips.
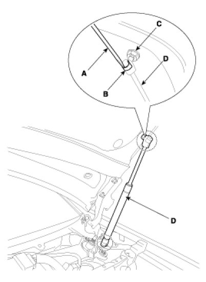
HOOD LIFT REPLACEMENT
1. Using a screwdriver (A), lift up slightly the socket clips (B) of both ends on the lifter (D), and then remove the lifter from the bracket (C).

2. Push the socket of the lifter into the bracket for installation.
HOOD RELEASE HANDLE REPLACEMENT
1. Remove the mounting bolt, then remove the hood release handle (A).

2. Installation is the reverse of removal.
NOTE:
- Make sure the hood latch cable is connected properly.
- Make sure the hood locks securely.
HOOD LATCH REPLACEMENT
1. Detach the clips, then remove the under cover(A).

2. Detach the clips, then remove the hood latch cover(A).

3. Remove the hood latch (A) mounting bolts.
4. Remove the latch (A).

5. Disconnect the hood latch cable (A) and Remove the latch (B).

6. Installation is the reverse of removal.
NOTE:
- Make sure the hood latch cable is connected properly.
- Make sure the hood locks securely.
COWL TOP COVER REPLACEMENT
1. Remove the wiper (A).

2. Remove the hood seal weather strip.
3. Detach the clips, then remove the cowl top cover (A).

4. Installation is the reverse of removal.
HOOD ADJUSTMENT PROCEDURES
1. After loosening the hinge (A) mounting bolt, adjust the hood (B) by moving it up or down, or right or left.
2. Adjust the hood height by turning the hood overslam bumpers (C).
3. After loosening the hood latch (D) mounting bolts, adjust the latch by moving it up or down, or right or left.
